Темежников Евгений Александрович
В С Литвы 1920-1929

Самиздат: [Регистрация] [Найти] [Рейтинги] [Обсуждения] [Новинки] [Обзоры] [Помощь|Техвопросы]
Ссылки:
Школа кожевенного мастерства: сумки, ремни своими руками Типография Новый формат: Издать свою книгу
 Ваша оценка:

ВООРУЖЕННЫЕ СИЛЫ ЛИТВЫ 1920-1929



Вооруженные силы стран мира: Общее оглавление
Вооруженные силы Литвы: 1918-1920, 1930-1940
Сокращения и обозначения

    ЛИТВА (Литовская Республика) [w]
Президент: Антанас Сметона (1919-1920, 1926-1940), Александрас Стульгинскис (1920-1926), Казис Гринюс (1926),
 []  []  []

Население: 3.100.000ч(1920г) [ИА]

  АРМИЯ [ИА]
 []  []

 []

 []  []

 []

 []  []

 []  []


  ВООРУЖЕНИЕ
  Артиллерийские орудия
Полевая пушка BL 60-pounder Mk.I:1905 (127мм/32 27кг 9,4км)
0x01 graphic 0x01 graphic

Легкая полевая пушка 7,7cm FK96nA:1900-1916 (76мм/27 1т сн:6,9кг 8,4км)
Полевая пушка 76-мм обр.1902 (76мм/30 1100кг 8,5км)
Полевая пушка 75mm M1914 Schneider (75мм/ 1,1т сн:5,4кг 9км) экс
0x01 graphicFK96na 0x01 graphicобр.1904 0x01 graphicM1914

  Минометы:
Средний миномет 17cm mMW:1913 (170мм 0,5кг сн:54кг 0,9км)
Легкий миномет 7,58cm leMW:1914 (76мм 147кг сн:4,6кг 1,5км)
0x01 graphic 0x01 graphic17cm 0x01 graphic7,58cm

  Пулеметы
Станковый пулемет MG 08:1908 (7,92мм 69кг)
Станковый пулемет Максим обр.1910 (7,62мм 20/67кг)
Станковый пулемет M1895 Colt-Browning (7,62мм 16кг)
0x01 graphicMG 08 0x01 graphicМаксим обр.1910 0x01 graphicColt-Brawning

Ручной пулемет Lewis gun:1913 (7,7/7,62мм 13кг 1,4м 47/97патр)
Ручной пулемет Мадсен (7,62мм 9кг)
0x01 graphicLews 0x01 graphicMadsen


Винтовки:
Магазинная винтовка Мосина обр.1891 (7,62мм)
0x01 graphic
0x01 graphic

0x01 graphic[Жук]



  АИАЦИЯ[w]
 []  []

  Боевые самолеты:
Бомбардировщик Friedrichshafen G.IIIa[a]:1919/192? (3,9т 12,8х23,7м 2пд260лс=141км/ч 600/4,5км 3ч 2-3п 1тб) имп: 2
0x01 graphic

Штурмовик Albatros J.II[a]:1919/192? (1,9т 8,4х13,6м 1пд220лс=140км/ч /3км 2ч 3п) имп: 3
0x01 graphic 0x01 graphic 0x01 graphic

Разведчик-истребитель Halberstadt CL.IV[a]:1919/192? (1,1т 6,5х10,7м 1пд160лс=175км/ч 480/4,1км 2ч 2п) имп: 13
0x01 graphic 0x01 graphic 0x01 graphic

Истребитель-штурмовик Halberstadt CL.II[a]:1919/192? (1,1т 7,3х10,8м 1пд160лс=170км/ч /5,1км 2ч 2п) имп: 4
0x01 graphic 0x01 graphic

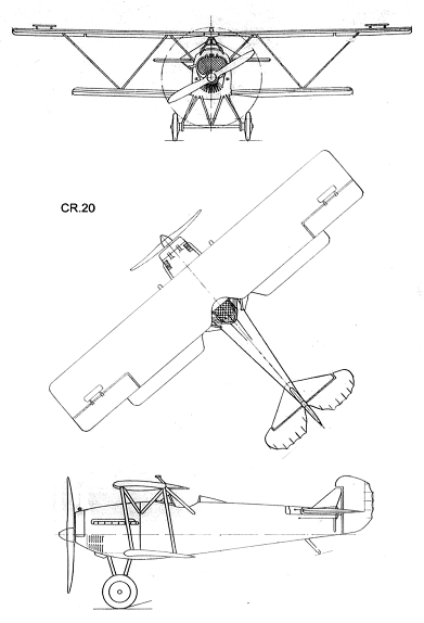
Истребитель CR.20[a]:1927 (1,4т 6,7х9,8м 1пд410лс=276км/ч /8,5км 1ч 2п) имп: 15
 []  []  []

Истребитель Letov S-20L[a]:1926 (1т 7,4х9,7м 1пд300лс=256км/ч 530/7,2км 1ч 2п) имп: 10
 []  []
 []
 []


Истребитель Fokker D.VII[a]:1919/192? (0,9т 7х8,9м 1пд160-185лс=200км/ч /7км 1ч 2п) имп: 4
0x01 graphic

Истребитель Albatros D.III[a]:1919/192? (0,9т 7,3х9м 1пд170лс=175км/ч 480/5,5км 1ч 2п) имп: 3
0x01 graphic

Разведчик-бомбардировщик SVA.10[a]:1923 (1,1т 8,1х9,1м 1пд220лс=220км/ч /6км 2ч 1п 0,1тб) имп: 10 +вып: 5
 []  []  []

Разведчик A.120[a]:1926 (1,4т 8,6х12,8м 1пд550лс=254км/ч /7км 2ч 2-3п) имп: 20
 []  []
 []
 []

Разведчик Albatros C.XV[a]:1919/192? (1,6т 8,9х14,4м 1пд260лс=175км/ч /5км 2ч 2п) имп: 2
0x01 graphic 0x01 graphic 0x01 graphic

Разведчик Albatros C.III[a]:1919/192? (1,4т 8х11,7м 1пд150-160лс=141км/ч /3,4км 2ч 2п 0,1тб) имп: 12
0x01 graphic 0x01 graphic 0x01 graphic

Разведчик Albatros C.I[a]:1919/192? (1,2т 7,9х12,9м 1пд180лс=140км/ч 350/3,6км 2ч 1п) имп: 11
0x01 graphic

Разведчик LVG C.VI[a]:1919/192? (1,3т 7,9х13,6м 1пд200лс=165км/ч 400/6км 2ч 2п 0,1тб) имп: 16
0x01 graphic 0x01 graphic 0x01 graphic

Разведчик DFW C.V[a]:1919/192? (1,4т 7,9х13,3м 1пд220лс=155км/ч /5км 2ч 2п 0,1тб) имп: 7
Разведчик Rumpler C.I[a]:1919/192? (1,3т 7,9х12,2м 1пд160-180лс=152км/ч /5,1км 2ч 2п) имп: 3
0x01 graphic 0x01 graphic

Разведчик Albatros B.II[a]:1919/192? (1,1т 7,6х12,8м 1пд120лс=120км/ч /3км 2ч) имп: 6
0x01 graphic 0x01 graphic



  ФЛОТ [ФВМ]
  Получившей независимость после Первой Мировой войны Литве оставили лишь узкую полоску побережья не имевшую ни одного морского порта- только две маленькие рыбацких гавани Швентойи и Паланга. 11.1.1923 литовское правительство Литвы ввело войска в Мемельский край, а 8.5.1924 было заключено соглашение о передаче Мемеля (Клайпеды) в состав Литвы.
  В силу незначительности морской границы, Литва не имела сколь-нибудь значимых морских сил. Единственным относительно крупным литовским кораблем являлся купленный 18.7.1927 бывший герм. ТЩ, получивший название Prezidentas Smetona.

  Сторожевые корабли: +1
+1 Prezidentas Smetona[N]($гер):1927 (506т 59х7х2м пм:1750лс=16уз 70ч 1к105/42+30м)
 []  []




    ХРОНИКА СОБЫТИЙ
17.12.1926 Военный переворот в Литве (1926)



    ИСТОЧНИКИ
[ИА] Иностранные армии. М.: Военная Типография Штаба РККА, 1923
[Армада-14] Коломиец М, Мощанский И., Ромадин С. Танки гражданской войны. М.1999
[Шир-арт-1] Широкорад А.Б. Энциклопедия отечественной артиллерии. Харвест. 2000
[Жук] Жук А.Б. Стрелковое оружие. М:1992
[а] Уголок неба. Большая авиационная энциклопедия
[N] Navypedia
[Conway-2] Conway All the world Fighting Ship 1906-1921. Conway Maritime Press 1986.
[Conway-3] Conway All the world Fighting Ship 1922-1946. Conway Maritime Press 1980.
[JFS-1920] Jane's Fighting Ships 1920
[JFS-1929] Jane's Fighting Ships 1929
[JFS-1933] Jane's Fighting Ships 1933
[ФВМ] Дашьян А.В. и др. Флоты Второй Мировой. М:2009
 Ваша оценка:

Связаться с программистом сайта.

Новые книги авторов СИ, вышедшие из печати:
О.Болдырева "Крадуш. Чужие души" М.Николаев "Вторжение на Землю"

Как попасть в этoт список

Кожевенное мастерство | Сайт "Художники" | Доска об'явлений "Книги"